安装方式:
法兰、支架未保含在气动马达型号中,需独立订购。客户亦可自行制作法兰。以上所有马达或法兰的尺寸若不清晰,请联系我们索取清晰的每一具体型号产品的尺寸图。
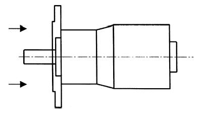
LKW系列马达法兰连接方式:螺丝连接法兰到马达端面
LCYO LFB LGS SLGS P T LFF LGG LACS 等系列马达的法兰、支架连接方式:螺丝拉紧法兰,法兰夹持住马达,

LFB
LGS SLGS LFF LGG LACS等系列马达可以配合紧凑型法兰使用,法兰直接拧紧安装在马达上,

气动马达法兰新资料:2006.11, 下载PDF格式的法兰资料
